河南洁源新型建筑材料有限公司����� �������Ƴ������������ �������Ƴ������������ �������Ƴ����������� �������Ƴ������
咨询热线:400-666-709718503881517
1. 测试仪器
采用数显式粘接强度检测仪 (图1-1) 。
仪器最大拉拔力: 10t, 显示数����� �������Ƴ������ �������Ƴ������������ �������Ƴ������������ �������Ƴ������������ �������Ƴ�������������据单位kPa, 可显示拉拔力峰值。
顶部拉拔板 (图1-2) 尺寸: 100×100×9mm。

&����� �������Ƴ������������ �������Ƴ����������� �������Ƴ������������ �������Ƴ�������nbsp; &����� �������Ƴ����������� �������Ƴ������������ �������Ƴ������������ �������Ƴ�������nbsp; ����� �������Ƴ������������ �������Ƴ������������ �������Ƴ������������ �������Ƴ�������图1-1 &n����� �������Ƴ������������ �������Ƴ������������ �������Ƴ������������ �������Ƴ�������bsp; &����� �������Ƴ����������� �������Ƴ������������ �������Ƴ������������ �������Ƴ�������nbsp; &n����� �������Ƴ������������ �������Ƴ������������ �������Ƴ������������ �������Ƴ�������bsp; &n����� �������Ƴ������������ �������Ƴ������������ �������Ƴ������������ �������Ƴ������bsp;����� �������Ƴ����� �������Ƴ����������� �������Ƴ������������ �������Ƴ������������ �������Ƴ�������������� &nbs����� �������Ƴ������������ �������Ƴ������������ �������Ƴ������������ �������Ƴ�������p; &nbs����� �������Ƴ������������ �������Ƴ������������ �������Ƴ������������ �������Ƴ������p; &nbs����� �������Ƴ������������ �������Ƴ������������ �������Ƴ����������� �������Ƴ�������p;  ����� �������Ƴ������������ �������Ƴ������������ �������Ƴ������������ �������Ƴ�������; &nb����� �������Ƴ������������ �������Ƴ������������ �������Ƴ������������ �������Ƴ�������sp; &nb����� �������Ƴ����������� �������Ƴ������������ �������Ƴ������������ �������Ƴ������sp; 图1-2
2. 判断标准
GB/T 28627-2012 《抹灰石膏》拉伸粘结强度不应小于0.3MPa
3. 检测方法及有效性判定
根据JGJ/T220-2010 《抹灰砂浆技术规程》 ����� ���������� �������Ƴ������������ �������Ƴ������������ �������Ƴ������������ �������Ƴ���������Ƴ�������附录A给定的抹灰砂浆现场拉伸粘结强度试����� �������Ƴ����������� �������Ƴ������������ �������Ƴ������������ �������Ƴ�������验方法执行。 具体如下:
1) 当破坏发生在抹灰砂浆与基层连接界面时,检测����� �������Ƴ������������ �������Ƴ������������ �������Ƴ������������ �������Ƴ�������结果可认定为有效,见图3-1。
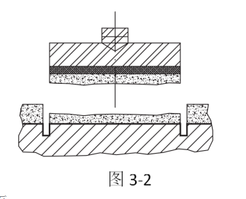
2) 当破坏发生在抹灰砂浆层内时,检测结果可认定为����� �������Ƴ������������ �������Ƴ������������ �������Ƴ������������ �������Ƴ�������有效,见图3-2。
3) 当破坏发生在基层内,检测����� �������Ƴ����������� �������Ƴ������������ �������Ƴ������������ �������Ƴ�������数据大于或等于粘结强度规定值时,检测����� �������Ƴ������������ �������Ƴ������������ �������Ƴ������������ �������Ƴ�������结果可认定为有效;试验数据小于粘结强度规定值����� �������Ƴ������������ �������Ƴ������������ �������Ƴ������������ �������Ƴ�������时,检测结果应认定为无效����� �������Ƴ������������ �������Ƴ������������ �������Ƴ������������ �������Ƴ�������,见图3-3。
4) 当破坏发生在粘结层,检测数据大于或等于����� �������Ƴ������������ �������Ƴ������������ �������Ƴ������������ �������Ƴ�������粘结强度规定值时,检测结果可认定����� �������Ƴ������������ �������Ƴ������������ �������Ƴ������������ �������Ƴ������为有效;检测数据小于粘结强����� ����� �������Ƴ����������� �������Ƴ������������ �������Ƴ����������� �������Ƴ��������������Ƴ�������度规定值时,检测����� �������Ƴ������������ �������Ƴ������������ �������Ƴ����������� �������Ƴ�������结果应认定为无效,见图3-4。
河南洁源新型建筑材料有限公司是一家专业从����� �������Ƴ������������ �������Ƴ������������ �������Ƴ������������ �������Ƴ�������事工业固体废弃物资源化综合利用和石膏基建����� �������Ƴ������������ �������Ƴ������������ �������Ƴ������������ �������Ƴ�������材料研发、生产、销售和施工为一体的高科技企业,河����� �������Ƴ������������ �������Ƴ����������� �������Ƴ������������ �������Ƴ�������南省脱硫石膏深加工企业、全国石膏行业优秀企业、����� �������Ƴ������������ �������Ƴ������������ �������Ƴ������������ �������Ƴ������石膏协会副理事长单位、18项核心技术专利����� �������Ƴ������������ �������Ƴ������������ �������Ƴ������������ �������Ƴ�������、三项行业标准修订主编单位、万科A级供应商。
所生产的轻质抹灰石膏ph值接近中性,对人体无害。且生����� �������Ƴ������������ �������Ƴ������������ �������Ƴ������������ �������Ƴ�������产过程中所有添加剂均为环保物质,不会释放甲醛等挥����� �������Ƴ������������ �������Ƴ������������ �������Ƴ����������� �������Ƴ�������发性有机物。
新洁源石膏基自流平是一种新型环保建筑材料,主要用����� �������Ƴ������������ �������Ƴ������������ �������Ƴ������������ �������Ƴ�������于不平基底,形成一����� ����� �������Ƴ������������ �������Ƴ������������ �������Ƴ������������ �������Ƴ��������������Ƴ��������� �������Ƴ������������ �������Ƴ������������ �������Ƴ������������ �������Ƴ����������个合适的、平整光滑的、坚固的����� �������Ƴ������������ �������Ƴ������������ �������Ƴ������������ �������Ƴ�������铺垫基底,以架设各种地板材料,例如地板、PVC、����� �������Ƴ������������ �������Ƴ������������ �������Ƴ����������� �������Ƴ�������瓷砖等精找平材料。